Abbildung ähnlich
NIEDAX

01233496
NIEDAX BH-6T E-KLIPS Schraubklemme

BH-6T 4013339744909 BH-6T
auf Anfrage
je 100 ST
keine Verfügbarkeitsinformationen

Verpackungseinheiten

25 ST Menge übernehmen

Funktionen

Verkaufsdaten

Mindestbestellmenge 1 ST
Bestellschritt 1 ST

Beschreibung

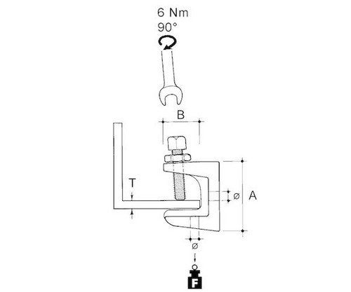
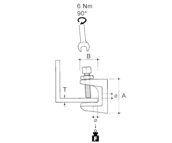
E-Klips, Schraubklemme, zum Anschrauben an verschiedenste Trägerflansche. Abmessungen (ca. Maße) für Flanschstärke T : 1 - 18 mm Höhe H : 40 mm Auflagebreite B : 22 mm für Anschlussgewindestab : M 6 Tragfähigkeit F : 0,6 kN Werkstoff : Stahl, galvanisch verzinkt/chromatiert nach DIN 50021

Merkmale

Verpackungseinheit 25
Gewicht 0,12
Gewichtseinheit KG
Gewichtbezugsmenge 1
Statistische Warennummer 73269096
Ausführung mit Innengewinde
Oberfläche galvanisch/elektrolytisch verzinkt
Werkstoffgüte Stahlguss
Werkstoff Stahl
Gewindemaß (metrisch) 6
Zulässige Nutzlast 600 N
Geeignet für Flanschstärke 1 - 18 mm
Gewindeart metrisch
Montage horizontal ja
Kurzbeschreibung E-KLIPS, Schraubklemme, t=1-18 mm, Ø M6, Stahl, mechanisch verzinkt/passiviert
eClass 11.0 - Klasse 23140309
UNSPSC 14.0801 - Klasse 31162305
FAQ
Live-Tracking
Kontakt
Kunde werden